BMW Z1 ROADSTER Camber Plates Górne Mocowania MTS TECHNIK
Opis
Regulowane camber / caster plates (przód)
Regulowane camber / caster plates (przód) MTS Technik pozwala na regulację kąta nachylenia kół względem podłoża oraz kąta wyprzedzenia sworznia.
Evolution 2 - najnowsza generacja górnych mocowań MTS Technik.
Projektując nowe, ulepszone górne mocowania inspirowano się hasłem 'Daily stance - basic motorsport'. Producentowi zależało na tym, aby produkt miał cechy sportowe (zwiększona sztywność, nowe łożysko uniball, regulacja kątów) przy jednoczesnym zminimalizowaniu uciążliwości w codziennym użytkowaniu i wysokiej estetyce wymaganej przez auta zlotowe (estetyczny black – gold).
- Komponenty zawieszenia cechujące się podwyższoną odpornością na korozję i wykonane z materiałów najwyższej klasy.
- Zestaw camber umożliwia regulację kąta pochylenia koła oraz zwiększa precyzję prowadzenia.
Zastosowanie:
BMW Z1 ROADSTER typ Z/B
auta z roczników: 06/1988 - 06/1991
Dane techniczne:
- Wersje silnikowe: 2.5 (M20 B25 (256K1)) 2494ccm 170KM/125kW
- Wersje nadwozia: roadster
- Oś montażu: przednia
- Wersja: regulowany camber / caster plate
- Zakres regulacji: -2.5° do +0.5°
- Dodatkowe obniżenie: 20 mm
- Waga: 840 g
- Pasuje do zawieszenia OEM: nie
- Nr katalogowy: MTSCP15SET
Kompatybilność
Kompatybilne z następującymi zawieszeniami gwintowanymi MTS Technik:
- --
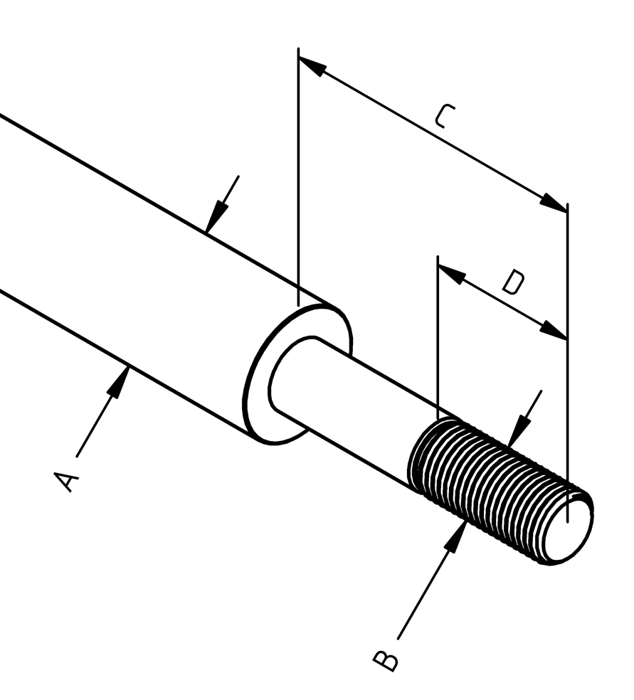
Jeśli chcesz zastosować Regulowane camber / caster plates (przód) w zawieszeniu gwintowanym innej marki sprawdź poniższe wymiary:
A - Średnica tłoczyska: 22 mm
B - Skok gwintu tłoczyska: M14x1.5
C - Długość podtoczenia: 46 mm
D - Długość gwintu tłoczyska: 46 mm
Uwagi:
- Jeśli w zestawie nie występuje specjalna nakrętka tłoczyska, należy zastosować nakrętkę z amortyzatora.
- Zakres regulacji może się różnić w zależności od wersji pojazdu, obniżenia lub dokładności spawania elementów zawieszenia.
Dodatkowe informacje:
- Camber Plates MTS TECHNIK są fabrycznie nowe.
- Zdjęcie przedstawia sprzedawany produkt.
